Tuesday, April 21, 2026
9 C
London
Home Blog Page 99

Nissan e-Trail trademark points to adventure EV

0


A new Nissan trademark filing points to an adventurous electric vehicle from the Japanese automaker—but it’s just a hint for now.

In a move first spotted by CarMoses, Nissan filed a trademark application for the name e-Trail with the United States Patent and Trademark Office (USPTO) on Jan. 15. While a trademark filing is no guarantee of production intent, the name is interesting for its closeness to e-Power, the branding of Nissan’s series hybrid system, and e-4ORCE, the dual-motor powertrain currently used in the Ariya EV.

2025 Nissan Rogue

2025 Nissan Rogue

The first version of e-Power was introduced in other markets almost a decade ago, but despite repeated promises, Nissan still hasn’t brought it to the U.S. In 2023, the automaker indicated that U.S. plans for e-Power included trucks, but last year Nissan North America Senior Vice President and Chief Planning Officer Ponz Pandikuthira told Green Car Reports that the system was better suited to crossovers like the Rogue and Kicks.

A next-generation Rogue e-Power is likely a couple of years away at least, but it isn’t the only planned electrified version of Nissan’s compact crossover. The automaker will also leverage its connection to Mitsubishi to use the latter’s plug-in hybrid tech in the Rogue. It’s a straightforward swap, as said tech is already used in the Mitsubishi Outlander, which shares underpinnings with the Rogue. Could an e-Trail badge be applied to that model?

2025 Nissan Ariya

2025 Nissan Ariya

CarMoses also speculates that e-Trail could refer to an off-road version of the Ariya, to be sold alongside current Ariya e-4ORCE models, which are tuned more for on-road driving dynamics.

Whatever Nissan has planned for the e-Trail name, it could very well change. The automaker’s planned merger with Honda could upend some product plans, and Nissan has already reportedly delayed some U.S.-market EVs.



Source link

Stellantis EV exhaust system could cool the chances of a fire

0


  • Parent company of Dodge, Ram, Jeep envisions an exhaust system for EVs
  • Would identify battery thermal runaway, could help prevent resulting fire by treating gases
  • Dodge Charger Daytona EV already makes the sound of an ICE exhaust system

Exhaust systems remove the byproducts of internal combustion, so they might seem superfluous in electric vehicles. But Stellantis might disagree with that.

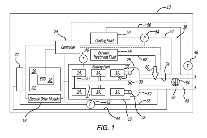
On Jan. 16, the United States Patent and Trademark Office (USPTO) published a patent filing from the automaker (originally filed in 2023) for an electric vehicle exhaust system that, Stellantis claims, could help prevent EV battery fires—or control the extent of their damage.

When batteries overheat—or experience thermal runaway, in engineering parlance—they can release flammable gases that then ignite in the presence of the high temperatures generated by the overheating batteries, Stellantis explains in the document. Those gases can include hydrogen, as well as hydrocarbons like methane, ethane, ethylene, acetylene, propane, cyclopropane, and butane, according to the automaker.

Stellantis EV exhaust system patent image

Stellantis EV exhaust system patent image

Removing those gases could prevent thermal runaway from escalating into fires, the automaker reasons, as well as vent pressure from the battery pack. With Stellantis’ four new modular STLA platforms designed to accommodate combustion engines and their exhaust systems, as well as all-electric powertrains, there’s certainly room for the necessary plumbing.

Stellantis even designed an exhaust system of sorts for the Dodge Charger Daytona EV, to reproduce the V-8 rumble of past Chargers—although that system is entirely intended for sound and vibration.

In the battery exhaust system, gases and they would pass through “a plurality of treatment zones for chemically treating the flow of gases to eliminate or at least reduce the number of various chemical species from the flow,” Stellantis says in the filing—bringing to mind some similarities to the catalytic converters used in combustion vehicles.

Stellantis EV exhaust system patent image

Stellantis EV exhaust system patent image

Modern batteries in most EVs are rigidly controlled via battery management system parameters. They’re also tightly sealed, with liquid cooling systems, and monitored at the module or cell level in a way that can isolate a defective portion of the pack. So while it’s surprising to see an automaker focusing on an outcome that its engineers have likely gone to great lengths to avoid, this isn’t the only unusual solution proposed for lessening the risk of EV battery fires. In 2019 the automotive supplier Bosch proposed using pyrotechnics to quickly sever electrical connections between battery pack and the rest of the vehicle if thermal runaway occurs. Either solution would be more about containing damage, and potentially making vehicles safer for first responders to approach, than prevent runaways in the first place.

Fire risk has led to several large EV recalls, but in 2023 the Insurance Institute for Highway Safety (IIHS) said that, as a safety concern, it’s outweighed (no pun intended) by the bulk of many current EVs and the damage they can inflict on other road users.



Source link

2025 VW ID.4 EV costs more vs. 2024, more features due mid-year

0


  • 2025 ID.4 with 82-kwh battery and 291-mile range starts at $46,520
  • VW promises “additional content” midyear; unclear if that’s in addition to NACS adapter
  • Base 62-kwh versions haven’t been priced, will come later

Volkswagen has put a price on some, but not all, U.S. versions of its 2025 VW ID.4 electric vehicle lineup ahead of their expected arrival at dealerships in February.

The 2025 ID.4 will be offered once again in a total of seven trims. ID.4 models with the larger 82-kwh (77 kwh usable) battery pack start at $46,520 in single-motor rear-wheel-drive form (including the $1,425 destination charge) or $50,420 in all-wheel-drive form. For the former, that’s $220 more than the equivalent 2024 model. This is for the 2025 VW ID.4 Pro, which continues to offer an extensive range of features, such as heated seats, heated washer nozzles, heated mirrors, a heated windshield (AWD models), dual-zone climate control, ambient lighting, 45-watt USB-C charging, and an extensive suite of active-safety tech. 

Pro S versions of the ID.4 with RWD add adaptive front lighting, perforated cooled front seats, a panoramic moonroof, a power tailgate, and 20-inch wheels, and it starts at $51,620, while the AWD Pro S version costs $55,520. Top S Plus versions are only offered in AWD form and cost $58,720, adding 14-speaker premium audio, heated rear seats, an overhead-view camera system, 21-inch wheels, upgraded trims, and more.

That leaves base-battery versions of the 2025 VW ID.4 with the 62-kwh (58 kwh usable) battery pack without a price, as of yet. For 2024 those versions started at $41,160 and were only offered with rear-wheel drive, keeping the 201-hp rear motor unit formerly used throughout the lineup.

The ID.4 has a CCS port, but it has said that its vehicles will obtain Tesla Supercharger access with a NACS adapter starting in June or July. Volkswagen noted with Monday’s update that those base-battery versions will have “later availability,” while all models will get “additional content starting midyear,” with details and pricing to come later, so it’s unclear if these two points are related.

2024 Volkswagen ID.4

2024 Volkswagen ID.4

2024 Volkswagen ID.4

2024 Volkswagen ID.4

2024 Volkswagen ID.4

2024 Volkswagen ID.4

VW confirmed last June that for 2025, even base versions of the ID.4 with the 62-kwh battery pack will get a 12.9-inch infotainment system with a revamped interface that cures, from what we could see in a first drive of the 2024 VW ID.4, nearly all of the interface ills of the ID.4 as it was initially launched. It keeps its Apple CarPlay and Android Auto compatibility, but it adds improved processing hardware to get rid of the latency, a tray of shortcuts, and climate functions that “stick” to the bottom of the screen. Supporting haptic sliders are now backlit and no longer laggy, VW confirmed last June that the 2025 ID.4 would be carried over essentially unchanged from 2024, and it’s supplemented with a ChatGPT-based voice assistant.

In a first experience with that voice interface, what VW is doing with or without the help of AI was not clearly differentiated. The automaker at that time emphasized only that no app or activation is required, and “if the request cannot be answered by the Volkswagen system, it is forwarded anonymously to AI and the familiar Volkswagen voice responds.”

2024 Volkswagen ID.4

2024 Volkswagen ID.4

2024 Volkswagen ID.4

2024 Volkswagen ID.4

2024 Volkswagen ID.4

2024 Volkswagen ID.4

VW has underscored, thankfully, that ChatGPT and the integration partner Cerence don’t gain access to vehicle data, and questions and answers are “deleted immediately to ensure the highest possible level of data protection.” At that time VW said that the new voice assistant could help answer general-knowledge questions, but in a CES demo Green Car Reports didn’t find it any easier than a Google search—or any more competent than Siri, which presents a low bar. 

As with the extensively revamped 2024 models, which arrived earlier this calendar year, the vast majority of the 2025 Volkswagen ID.4 lineup offers a punchier permanent-magnet rear motor unit allowing 282 hp in single-motor rear-wheel-drive form, or 335 hp in dual-motor all-wheel-drive form that includes a smaller induction motor in front. Meanwhile VW boosted ID.4 EPA range ratings to 263 miles for AWD versions or up to 291 miles for the single-motor version, both with the larger 82-kwh (77-kwh usable) battery pack.

VW ID.4 sales were down significantly in 2024, initially due to a slight delay before the refreshed model and then due to the recall and stop-sale of 2021-2024 ID.4 models—nearly 100,000 vehicles—due to defective door handles. Deliveries resumed last month and production restarted at its Chattanooga, Tenn., assembly plant.

As of yet, the 2025 VW ID.4 faces yet another hurdle: It’s not yet listed as qualifying for the $7,500 EV tax credit, which is at the time of writing still valid. With the clock potentially ticking on that piece of policy, and VW faced with a glut of 2024 models it needs to move out from the stop-sale, expect discounts on those much-improved 2024 ID.4s as we wait to get the full 2025 picture on this EV model line.



Source link

EVs and gas-powered cars to share nameplates

0


Audi announced Monday that it will upend a naming scheme announced last year and have internal-combustion and electric vehicles share nameplates.

In an effort to fit more electric models into its traditional alphanumeric format, Audi previously said it would assign odd-numbered designations to combustion models like the A5 and Q5, and reserve even numbers for EVs along with its current E-Tron suffix, as with the A6 E-Tron and Q6 E-Tron. But that’s no longer the case.

Numbers will once again refer only to a model’s size and positioning in the lineup, Audi said in a press release. The letters A and Q will remain as differentiators between cars and SUVs, respectively, rather than powertrain type, meaning electric and combustion models can now share the same alphanumeric combination, Audi confirmed.

2025 Audi SQ6 E-Tron

2025 Audi SQ6 E-Tron

Powertrain-specific branding such as E-Tron, TFSI for combustion engines, and TFSI e for plug-in hybrids will continue, along with body-style nomenclature like Sportback (used for fastbacks) and Avant (wagons), Audi confirmed.

“This decision is the result of intensive discussions and also follows the wishes of our customers as well as feedback from our international dealers,” Audi sales and marketing boss Marco Schubert said in a statement. The return to the previous nomenclature is more “intuitive,” allowing customers to more easily judge a model’s place in the lineup, Schubert added.

In addition to making things easier for customers to understand, the revised naming scheme better accounts for the numerous plug-in hybrids Audi has said it will introduce as a hedge against an unpredictable EV market. They might otherwise fall into the gap of a naming scheme that divides all models into electric or internal-combustion.

2025 Audi Q5

2025 Audi Q5

The first model affected by this change will be the next-generation gasoline Audi A6, which would have been badged as an A7 under the previous nomenclature. Due to be revealed Mar. 4, it will be styled as an A6 TFSI, while its electric companion model will keep its A6 E-Tron nomenclature.

But while they now share a name, it’s likely that the two models will be based on different platforms. The A6 E-Tron is based on the Premium Platform Electric (PPE) also used by the Q6 E-Tron and electric Porsche Macan, but as that’s an EV-specific platform, the gasoline A6 will likely use the Premium Platform Combustion (PPC) introduced with the latest Audi A5 and Q5.



Source link

AAA member businesses to get preferred pricing on ChargePoint EV chargers

0


ChargePoint last week announced an agreement with AAA to expand deployment of its electric vehicle chargers.

The agreement will secure “preferred pricing” on charging hardware for businesses associated with AAA, according to a press release. Such businesses include towing companies, repair shops, and similar automotive-related businesses that could make use of EV chargers.

ChargePoint Omni Port

ChargePoint Omni Port

This pricing applies to Level 2 AC and DC fast-chargers, as well as service plans provided by ChargePoint. AAA expects to offer it to more than 12,000 businesses associated with 27 of its U.S. auto clubs, as well as CAA clubs in Canada.

Some of these chargers may be equipped with security systems and what ChargePoint claims are tamper-proof cables—part of an effort by the hardware manufacturer to fight cord cutting at public chargers, which have been targeted by copper thieves in the past. ChargePoint is also rolling out new Omni Port hardware that combines NACS and CCS connector types.

Porsche Macan EV at ChargePoint charger

Porsche Macan EV at ChargePoint charger

AAA, meanwhile, has expanded support for EV drivers in recent years with trip planning and a mobile charging service to help quell range anxiety. AAA first tested that concept all the way back in 2010, at the dawn of the modern EV era.

Outside of its partnership with AAA, ChargePoint is working with General Motors to deploy up to 500 DC fast-charging stations by the end of this year. These will offer up to 500 kw of charging power, surpassing chargers being installed under GM’s existing partnership with EVgo, which goes back to 2020 and will include metropolitan fast-charging stops with a gas-station-like pull-through configuration.



Source link

New plug-in hybrids for 2025

0


Are plug-in hybrids an on-ramp to fully electric vehicles, or undue cost and complexity? Are they something consumers asked for, or something created by bureaucrats and regulators?

At least in some respects the answer includes all of the above. It’s complicated. 

Plug-in hybrids’ greater complexity is intended to pay off by greening the ownership experience for a specific kind of driver—those who can plug in most days for the commute but need a gas tank because of road-trip charging concerns.

Thus, PHEVs have an engine and, typically, a much larger battery than hybrids. If you don’t charge a plug-in hybrid, it will typically use a small portion of the battery with the engine and together function as a hybrid.

There’s much controversy over how often typical plug-in hybrid drivers actually plug in. A 2022 study from the International Council on Clean Transportation, tapping into U.S. data sources, found that plug-in hybrids are traveling 25-65% fewer miles than suggested by the EPA numbers on window stickers, and a European Commission study determined they were polluting more than assumed in real-world use. The EPA knows this and proposed a factor correcting for it in greenhouse-gas regulations, but given the latest EPA and CAFE standards, we’ll be seeing many more plug-in hybrids. 

2024 Toyota Prius Prime

2024 Toyota Prius Prime

What can you expect from the next generation of upcoming plug-in hybrids? Generally speaking, because of California regulations as well as better battery technology, they’ll offer more electric miles—potentially a lot more, in the order of 50-70 electric miles for some models. Today, the Range Rover SE Plug-In Hybrid offers 51 miles, while there are a few more above 40 miles: The Toyota Prius Prime is at 44 electric miles, the Toyota RAV4 Prime goes 42 miles, and the Volvo S60 Recharge and its V60 counterpart both go 41 miles. 

Future PHEVs will also aim to offer more of an electric-vehicle driving experience up front—meaning that as long as you have some charge in the plug-in battery, the gasoline engine will stay mostly off and out of the mix. And while there isn’t a strict rule book on how PHEVs should be configured, many automakers see PHEVs evolving to make the electric side of the propulsion system the more powerful and essential one, not the gasoline engine.

While we wait for more of those plug-in hybrids, here are the new or significantly upgraded PHEVs for the 2025 model year, as well as those set to arrive before (or just past) the end of the calendar year.

 

2025 Honda CR-V e:FCEV

2025 Honda CR-V e:FCEV

Honda CR-V e:FCEV

Honda’s first plug-in hybrid for the U.S. in a number of years is a California-only affair and it doesn’t have a gasoline engine under the hood. Instead, a 92.2-kw hydrogen fuel-cell stack takes the place of an engine and generator in the 2025 Honda CR-V e:FCEV, producing electricity to help keep the big 14-kwh battery pack charged and providing 174 hp and 229 lb-ft of torque at the front wheels. You can also plug in the e:FCEV and drive it 29 miles on a full charge—which, given the not-entirely-reliable hydrogen supply, is a good backup to have. 

2023 Hyundai Tucson Plug-In Hybrid

2023 Hyundai Tucson Plug-In Hybrid

Hyundai Tucson

The 2025 Hyundai Tucson Plug-In Hybrid has received a sharper look, standard all-wheel drive, and a new infotainment screen influenced by the look inside the Ioniq 6 EV, all as part of a thorough refresh given to the whole Tucson lineup this year. 

Altogether there are enough changes for it to make this list, and yet its plug-in hybrid powertrain has not changed, with a 72-kw electric motor not allowing fully electric driving quite all the time, even with a full charge of the 13.8-kwh battery pack allowing 33 electric miles. A 7.2-kwh onboard charger means it can rejuice in less than two hours with a Level 2 home charger, though, and its powertrain makes a combined 268 hp and 258 lb-ft of torque and gets 35 mpg once there’s no plug-in charge left. 

2024 Jeep Gladiator

2024 Jeep Gladiator

Jeep Gladiator 4xe

There’s been a lack of plug-in hybrid trucks in the U.S. market, and it was a bit unexpected to see Jeep step up as the first. The Gladiator plug-in hybrid has been confirmed for an arrival in calendar year 2025, with full details coming later this year. At minimum, look for the specs of the Wrangler 4xe, which has a 17.0-kwh battery pack, providing 21 electric miles. Its 2.0-liter turbo-4 and electric motor system, making a combined 375 hp and 400 lb-ft of torque, have already proven that off-road prowess won’t go away. 

2025 Mercedes-Benz GLC 350e plug-in hybrid test drive review

2025 Mercedes-Benz GLC 350e plug-in hybrid test drive review

Mercedes-Benz GLC 350e

The latest addition to an accomplished midsize crossover family, the 2025 Mercedes-Benz GLC 350e sports a PHEV powertrain that mates a 2.0-liter turbo-4 engine with a 24.8-kwh battery pack (23.3 kwh usable) and an electric motor for a net 313 hp and 406 lb-ft of torque. The EPA rates the GLC 350e at 54 miles of electric range. Mercedes pegs its 0-60 mph time at 6.2 seconds, top speed at 135 mph as a hybrid and 87 mph in its electric drive mode—and offers a 60-kw fast-charge mode that allowed us to top off the battery in under an hour. Priced from $61,050, the GLC 350e plug-in hybrid gets a 11.9-inch touchscreen, a 12.3-inch digital display, wireless Android Auto and Apple CarPlay, and touch-sensitive steering wheel controls.

2025 Ram 1500 Ramcharger

2025 Ram 1500 Ramcharger

Ram 1500 Ramcharger

The upcoming 2025 Ram 1500 Ramcharger is, by our definition, a plug-in hybrid. That’s because to get the most out of this truck, with its “class-shattering unlimited battery electric range,” as the brand sensationally put it, you’ll need a full tank of gas. 

Yet it’s very different. The Ramcharger will be one of the market’s first plug-in series hybrids—meaning there won’t be any mechanical connection between the engine and drive wheels. With a 92-kwh battery pack, it should go a whopping 145 miles on electric-only battery power, then another 545 miles with the gasoline engine running as a generator, effectively functioning as a range-extender. The dual-motor propulsion system driving the truck with all-wheel drive will make a combined 663 hp and 619 lb-ft and, Ram says, will be fully up to the task for towing long distances.

Ram has said that the Ram 1500 Ramcharger will be a 2025 model, but it will arrive after the fully electric Ram 1500 REV that’s due in the fourth quarter of the year—so expect the Ramcharger at dealerships in early 2025.

2025 Porsche Panamera Turbo S E-Hybrid

2025 Porsche Panamera Turbo S E-Hybrid

Porsche Panamera Turbo S E-Hybrid

Porsche is putting a lot of emphasis on its electric vehicles, including longer-range, improved versions of its standalone Taycan performance EV, the new Macan Electric, and the upcoming 718 Boxster EV. But that doesn’t preclude Porsche from continuing to up its plug-in hybrid offerings. The noteworthy one for 2025 is its Panamera Turbo S E-Hybrid, which rejoins the lineup as part of a family of redesigned third-generation Panameras.

As with other E-Hybrids, the internal-combustion engine is paired with a single electric motor and an 8-speed dual-clutch automatic transmission. For 2025, expect well over the previous 20 miles on a charge from the larger 25.9-kwh battery pack; and together with the twin-tuirbocharged 4.0-liter V-8 the Turbo S E-Hybrid delivers a combined 771 hp good for 0-60 mph in 2.8 seconds and a top speed of 202 mph.

2025.5 Volvo XC90

2025.5 Volvo XC90

Volvo XC90 T8 plug-in hybrid

Volvo has refreshed the most important model in its plug-in hybrid lineup, the XC90. Set to arrive as a 2025.5 model to U.S. dealerships in Q1 2025, it adopts a new grille plus the EX90’s sweeping interface overhaul inside—at least the screen portion of it, if not the switchgear. Cabin materials get a noteworthy upgrade, but inside or outside, dimensions haven’t changed in any significant way.

The Swedish brand calls its latest XC90 T8 “an electric car with a backup plan,” even though for the most part it’s the opposite as of yet, providing as with many of today’s other plug-in hybrids, the full driving experience once the gasoline engine starts. The 2025.5 Volvo XC90 T8 makes 310 hp and 295 lb-ft of torque from the gasoline engine plus 145 hp and 228 lb-ft in its electric drive mode, and Volvo anticipates 33 miles of fully electric driving by EPA standards.

2023 Jeep Grand Wagoneer L

2023 Jeep Grand Wagoneer L

Jeep Wagoneer 4xe

Jeep this spring confirmed that it will add Wagoneer 4xe and Grand Wagoneer 4xe plug-in hybrids in 2025—unconfirmed as of yet whether for the 2025 or 2026 model year—with a version of the same “range-extended” plug-in hybrid system to be used in the Ramcharger. With the finesse of fully electric motor control at the wheels, it could conceivably boost the all-wheel-drive prowess of these big full-size SUVs. 



Source link

Greenland might help give EVs an edge over gasoline

0


Greenland could emerge as a major source of raw materials for electric-vehicle batteries—if industrial interests have their way.

Arctic conditions and an ice layer over much of the land mass in this autonomous territory of Denmark have made mining difficult in the past. But, ironically, as glaciers recede due to climate change mineral deposits that could be used in EV batteries might become easier to access, notes a report by The Lever published Wednesday.

A 2023 European Commission survey found that Greenland contains deposits of 25 out of 34 minerals classified as “critical raw materials,” including battery-related metals like nickel and cobalt. In a September 2024 report, the Arctic Economic Council said Greenland was one of largest potential sources of these metals in the world.

Mercedes-Benz Alabama battery factory

Mercedes-Benz Alabama battery factory

The first exploration for lithium in Greenland was just conducted last summer in collaboration with the U.S. State Department, the report notes, adding the Biden Administration helped Denmark draft a new mining investment law aimed at encouraging investment in Greenland.

Last November, Canadian mineral exploration firm Brunswick Exploration announced its intention to expand licenses for lithium exploration in Greenland following initial discoveries, saying in a press release that it planned to launch “a major lithium exploration initiative in 2025 across Greenland.”

2025 Mercedes-Benz EQE SUV

2025 Mercedes-Benz EQE SUV

Greenland has become a foreign-policy talking point because of President Trump’s bluster about buying the island from Denmark. But securing more EV battery raw materials likely isn’t the reason behind this move. The U.S. already has ready access to Greenland’s minerals through its free-trade agreement with Denmark, and it’s unlikely that things would change that much if Greenland became a U.S. territory—except for environmental and work rules, perhaps.

As further emphasized with a directive this week from new Secretary of Transportation Sean Duffy to lower fuel-economy standards, Trump also doesn’t care about EVs. If he did, we would likely already be moving to exploit U.S. lithium deposits with the same zeal with which he’s encouraging more drilling for oil.



Source link

Honda’s radical new EVs might help it make better Accords

0


  • Honda Ohio EV Hub will start making EVs in late 2025 on 0 Series platform
  • Production will include Acura RSX, Honda 0 SUV, Honda 0 Saloon, and Afeela 1
  • EVs, hybrids, and gas models will be mixed on single Marysville assembly line
  • Processes introduced for EVs will apply to ICE models, making them better too

Over the past several years, a roller coaster of EV supply and market demand, with an about-face of regulatory moves, created a new kind of challenge for full-line automakers—about how deeply and how soon to commit to dedicated EV plants. 

Honda continues to target 100% electric vehicle sales by 2040, and to have “zero environmental impact” by 2050. It’s previously projected 40% EV sales in North America by 2030. Meanwhile hybrids add up to 50% of U.S. Honda Accord sales, and in recent months Honda has admitted that it’s hard to predict the trajectory of where the mix will be on the way to fully electric. 

To reconcile all this, it’s prepared by committing to a new template for making both EVs and gasoline models, all on the same production line. This sea change in how it makes vehicles could keep its oldest U.S. assembly plant, its Marysville, Ohio, facility that opened in 1982, humming at capacity, no matter what the market presents.

As Honda confirmed last April, Marysville will truly get the automaker to the point of EV mass production in North America, with a big asterisk. It has the capability to make hundreds of EVs per day, or many hundreds of gasoline models—depending on demand.

Marysville is one of four facilities set to make up what Honda is calling its Ohio EV Hub—including the Anna Engine Plant and East Liberty Auto Plant, all within 50 miles of each other, and a joint-venture battery plant between Honda and LG Energy solution in nearby Jeffersonville, Ohio. Battery plant aside, Honda says it encompasses more than a $1 billion investment in the three facilities, in redesigning the manufacturing process around being able to make ICE, hybrid, and EV models all on the same production line. 

The investment in the Ohio facilities marks the global debut of changes in the way it builds vehicles, with expertise set to be shared across North America. And, according to Honda, it’s aiming to set a global standard for Honda EV production. 

Acura Performance EV concept - RSX

Acura Performance EV concept – RSX

Honda 0 SUV prototype

Honda 0 SUV prototype

Honda 0 Saloon prototype

Honda 0 Saloon prototype

Honda is set to start electric vehicle production in late 2025 at the Ohio EV Hub, beginning with the Acura RSX EV. Honda-branded EVs based on the Honda 0 SUV and Honda 0 Saloon prototypes will arrive soon after, both in 2026. 

That’s three models. There will also be a fourth model set to ramp up around the same time as those two Honda models: the Afeela 1, the Sony Honda Mobility (SHM) product of a joint venture between Sony and Honda. SHM confirmed last month at CES in Las Vegas that deliveries of the $89,900 Afeela 1 will start in mid-2026. 

Afeela 1

Afeela 1

Honda EVs, hybrids, and gas models, on the same line

At Marysville last week, Green Car Reports got to see this great change underway. Honda opted to combine its two assembly lines into a single flexible assembly plant concept. The project has been three years in the making behind the scenes, and Honda announced the project specific to the plant in March 2023. 

The plant previously made the Acura Integra and TLX on one line, while the Accord was made on the other. Without interrupting the production flow (and temporarily moving Accord production at one point), that involved a series of transitions, with the added space allowing a much wider line, with a new sub-assembly strategy allowing for processes that EVs require and gas models don’t—and vice versa. 

Honda Accord assembly at Marysville

Honda Accord assembly at Marysville

Mike Fischer, the leader for Honda’s North American EV project, explained to GCR that this transformation of Ohio facilities is probably the single most important foundation for Honda manufacturing, moving forward, because it shows how Honda can maintain not just production flexibility but flexibility in how it keeps engineering and designing its vehicles. BEV and ICE vehicles can remain optimized for their respective strengths, and neither one will be hobbled for it on the manufacturing floor.  

Honda is keeping the overall build time exactly the same after the line change, according to Fischer, who led the production launch of the 2013 Accord, which required some changes at the plant due to its extensive engineering changes like a strut layout, CVT automatic, and available hybrid versions. The upcoming BEV models and their subassemblies will take “a little bit” more build time than the current Accord, he said, adding that there’s still opportunity for optimization and it should be the same or maybe a little less.

Meanwhile, it’s picking up the pace on that one line such that total output from the plant could potentially reach the previous peak production of about 950 vehicles a day, or an annual capacity of 220,000 from two lines. 

It was no easy task. The upcoming EVs, which we previewed in October with a Honda 0 Series prototype drive, are set to have very little in common with Honda’s gasoline vehicles, and they’re going to be fundamentally different for many years. Honda has no plans to merge body structures or vehicle platforms among its gasoline and hybrid models. 

Honda 0 Series battery cases

Honda 0 Series battery cases

Honda seeding the future in with its bread and butter 

From the concept-car proportions to the next-gen Asimo OS interface, to all-new switchgear and displays, to the calibration needs of their Level 3 automated driving system, and everything underneath, it’s seriously hard to find commonalities. While the Accord’s structure is primarily steel, the EVs will be built on an aluminum-focused body structure, with the aluminum battery pack an integral piece. They were designed with different priorities—so as to have short overhangs and efficient cabins, with the force paths designed with no allowance for an engine in front, eliminating the need for high cowl crossmembers and sending force paths to thick side rails. 

So it created a series of sub-assembly lines that could handle all the differences in the way an EV is assembled versus the way a gasoline or hybrid vehicle is assembled—and widened the way for those sub-assemblies and for parts and components to get through. 

Honda had to upgrade its vehicle carriers for heavier EVs, redesigned its people-movers along the line for better ergonomics, and had to devise robots that would apply thermal gap filler to the pack on the vehicle line. It also had to design a process for battery pack assembly itself—including the installation of cells from the nearby Honda-LG battery plant—and for battery pack installation into the vehicle (below). 

For the body structures of the new EVs, Honda is switching to a CDC weld technology—a world first, employing pulses rather than a constant current to help make a lighter, stronger structure. If you expect fireworks of sparks at welding stations, it feels uneventful.

Honda Accords going through inspection - Marysville OH

Honda Accords going through inspection – Marysville OH

ICE and hybrid vehicles pass through the EV battery pack area without stopping, while EVs may pass through some of the steps for elements like exhaust and fuel-system installation without stopping. Honda calls it “multi-platform flexibility.” And to keep the rate of Accord Hybrid production running strong, Honda also created a new area for hybrid battery assembly. 

LG pouch cells fill the modules that get installed into the EVs’ battery packs on the Marysville line, as we saw demonstrated, but Honda hasn’t yet confirmed the battery capacity. The pack is kept thin by Honda’s unusual and innovative cooling strategy—with water jackets machined into the pack case itself, allowing super-thin channels of coolant to circulate between that and a jacket cover that fits over it. 

Honda 0 Series battery case - quenching after casting

Honda 0 Series battery case – quenching after casting

Honda 0 Series battery pack

Honda 0 Series battery pack

Friction stir welding of Honda 0 Series battery case halves

Friction stir welding of Honda 0 Series battery case halves

Honda’s engine plant pivots to packs—and maybe motors

Meanwhile, the packs themselves are set to be made less than an hour’s drive away, at Honda’s Anna Engine Plant, where it’s taking on a similar challenge: manufacturing some of the key components for the 0 Series’ battery pack and powertrain without interrupting its throughput for the range of engines—including Atkinson-cycle four-cylinders for the Accord Hybrid. 

Honda has made about 30 million engines at Anna, and it has the production capacity to make more than 4,800 of them per day. Electric motors for the EVs, engineered by Honda but built by captive supplier Hitachi Astemo at present, are likely to be brought into Anna eventually, executives said. 

With six 31-foot-tall, 6,000-pound die-cast machines at Anna, Honda will “megacast” the battery-pack cases set to go into EVs at both Marysville and East Liberty. As Honda underscores, it’s larger than anything it’s ever die-cast

Megacasting uses less energy than gigacasting, and the die-cast process reduces scrap, eliminates the need for heat treating, and enables Honda to shift the energy used in the process from gas to electricity—reducing the CO2 footprint. 

In Honda’s EVs, the pack is split into a front and rear section, with a friction stir welding process—strongly joining the two pieces without melting—bonding the “butt joint” between the two sections. 

Prior to machining, to make sure the cases, which serve as part of the structure of the EVs, are dimensionally in check—and, given the shape, that it’s stayed flat—Honda has put to use a new “photogrammery” method potentially employing more than 100 cameras that rapidly take a series of photos of the part, reconciling all the recorded geometries. 

Honda Accord Hybrid component assembly - Marysville, Ohio

Honda Accord Hybrid component assembly – Marysville, Ohio

Higher-quality Hondas all around from revamp

As Fischer suggested from an engineering standpoint, the meticulous look at how vehicles are being built, that went into this project, meant more than EVs on the same line plus updated machines and new robotics. It will benefit future gasoline, hybrid, and plug-in hybrid vehicles in a multitude of ways.

Tim Leopold, the BEV project lead for the Marysville plant, said that it’s brought in more of a “big data” approach to production starting with the EV Hub remake, that extends to EVs and gasoline models alike. It brought in a layered quality approach that’s so extensive it connects everything from the torque feedback of the tools used to tighten bolts to things like the dimensional accuracy of the bodies and how components fit together. 

“We can either trace or track it with data, and control it to the point of an interlock where that particular unit won’t be able to pass downstream unless we get a system saying, it’s okay, I’ve received good data,” explained Leopold. “We’re using the EVs as an opportunity for change, but at the same time that change is going to help the ICE or hybrid counterpart, which is pretty exciting.”

Honda 0 Series prototype and battery pack marriage - Ohio EV Hub

Honda 0 Series prototype and battery pack marriage – Ohio EV Hub

EV production starts late 2025

Leopold said that Marysville is only about a month away from making so-called “trial production” versions of the first EVs, after which—with lots of analysis along the way—it will go through multiple iterations over the next 10 to 11 months leading to mass production. 

This market-dependent, flexible, lift-all-boats approach is a necessary piece for remaining competitive over the next 12 to 15 years. Some of the way there it may simply become a question of when to retire the gasoline models. We aren’t there yet.

Now it’s a matter of proving the idea out in real-world manufacturing—a project that the team behind it feels very confident in taking around the globe. 

“I can translate this, shift it to any of our manufacturing body plant operations,” said Fischer. “How to do ICE, hybrid, and BEV in general, together…It created the perfect storm for us to be able to do this at two facilities from the start, and then it will go wider.”



Source link

2025 Mercedes-Benz GLC 350e depends on math appeal

0


Plug-in hybrids are building their case as stopgap solutions for drivers not ready to take the EV plunge. Those of you who can control or limit your daily driving needs are squarely in its sights. Do you keep your daily duties at 50 miles or less? The Benz GLC 350e has you covered.

A home-charging setup for off-peak parsimony turns plug-ins into e-commuter cars. But charging costs matter in this equation, too. And if you’re counting nickels and dimes, and find yourself paying the usurious rates charged by some popular stations in popular places, the advantages of a plug-in flicker and dwindle.

That’s what I experienced earlier this month during my test drive of the Mercedes-Benz GLC 350e, which acquitted itself thoroughly well as I toured my old stomping grounds. Until I needed to plug it in, that is. With nearby high-power Electrify America DC fast-charging priced at 64 cents a kilowatt-hour, I realized charging locations alone aren’t the only hurdle to adoption. Cost’s a real killer. 

2025 Mercedes-Benz GLC 350e plug-in hybrid test drive review

2025 Mercedes-Benz GLC 350e plug-in hybrid test drive review

GLC 350e: A convenient fast-charge mode, at a price

I picked up the GLC just as a flurry or two fell out of a gray sky—never a good sign in Atlanta, the city too busy to plow. The vehicle indicated 47 miles on its battery from the stop, but once I tapped it to life and snicked its stubby shifter into gear, that range fell immediately to 37 miles. I set out at a crisp 29 degrees to find the Electrify America station I knew well, with the first spittle of snowflakes on the horizon, knowing I would need to stick close to it to guarantee some all-electric driving before this winter-paralysis demon showed up.

The powertrain’s an extravagant dose of technology, though it’s mostly indecipherable from the outside, where it gets only small badges to differentiate it from gas-only models. The 2.0-liter turbo-4 engine mates up with an electric motor and a 24.8-kwh battery pack (23.3 kwh usable) for a combined output of 313 hp and 406 lb-ft of torque, and an EPA-rated electric range of 54 miles. Mercedes promises a 0-60 mph time of 6.2 seconds, a little slower than the gas-powered midrange GLC, and a top speed of 135 mph as a hybrid, or 87 mph in its electric drive mode.

When I get to the EA station, Bolts and ID.4s and Niros have lined up to take advantage of its proximity to Kroger, Starbucks, and LA Fitness. I’m guilty as (not yet) charged, too. When my slot opens and I pull in, a Taycan takes the plug next to me. Surrounded as we are by glassy golf-course mansions, I’m not surprised—but I am to find that the EA quotes me a charge time of one hour, 14 minutes. I could charge at its default battery-friendly rate, but with snow on the way I flick through the interface to engage fast charging, which chops the remaining time, boosts the charge rate to 60 kw, and commits to completion in about 55 minutes. 

A few espresso shots later, the GLC has peaked at 33 kw, and has accepted 27.2 kw of energy, for a promised 62 miles of range. It also charged me 64 cents for each kilowatt: including tax, the $18.88 total for the equivalent of a day’s commute leaves me at a loss. Adding insult to injury, as soon as I pulled out of the charging station the range dropped to 59 miles, almost like it was recalculating depreciation instead of range.

The exorbitant cost of EA charging aside, the GLC 350e performs remarkably like the other GLC cars, with about 700 pounds more packed into it, that is. 

Driveability isn’t much of a concern. There’s some lurch when the gas engine kicks in—when the battery’s exhausted, or when the Hybrid mode blends its power with battery energy to optimize higher-speed performance. The Mercedes regenerative braking system lets the brake pedal go stiff or soft, depending on whether it’s set for the strongest amount of regen in D-, or the least in D+. 

I experimented with the various drive and regen modes through a familiar series of four-leaf clovers that loop around my usual stopovers around town. Leaving the car in Auto mode, with regen set to its maximum, yields the most useful driving range in mixed traffic. The GLC’s big wheels and tires produce little bump-steer, but Mercedes SUVs have more head toss than those from some other luxury brands, mostly from dialed-in lateral stiffness and big wheels and tires—and in this case, a self-leveling rear air suspension that offsets the battery weight. While I stay vigilant against incoming winter, the GLC 350e tackles the tight on-ramps and the few snaky roads I can access.

 

2025 Mercedes-Benz GLC 350e plug-in hybrid test drive review

2025 Mercedes-Benz GLC 350e plug-in hybrid test drive review

2025 Mercedes-Benz GLC 350e plug-in hybrid test drive review

2025 Mercedes-Benz GLC 350e plug-in hybrid test drive review

2025 Mercedes-Benz GLC 350e plug-in hybrid test drive review

2025 Mercedes-Benz GLC 350e plug-in hybrid test drive review

2025 Mercedes-Benz GLC 350e plug-in hybrid test drive review

2025 Mercedes-Benz GLC 350e plug-in hybrid test drive review

 

2025 Mercedes-Benz GLC-Class looks, space, and stuff

Mercedes repotted the GLC in the 2023 model year, resculpting its handsome shape that leans more wagon than SUV. Also sold as a more rakish Coupe model, the GLC has a stunning interior, with a digital tombstone at its center that asserts the interface’s prominence against a river of matte wood or metallic trim. Studded by squircular air vents and glammed up with metallic trim in every direction, it lights up the ground as you enter, flickers to life when its start button gets pressed, and responds to almost every beck and call when you send out the voice command, “Hey Mercedes.” If there’s an element of modern tech missing from its wrapper, I wasn’t able to identify it over a four-day road trip.

The GLC’s 113.1-inch wheelbase sets out a footprint that permits lots of interior room, with snug front 16-way power seats that have been designed around a person slightly smaller than me. After a few hours of darting out to an exurban retreat and back, the driver seat made itself known at my hips with a dull ache. On one break, I sat in the three-person bench, which could house two of me and my size-12 feet and short-leg, long-torso body with ease. Everything I’d brought on my road trip—coolers, overnight bag, backpack—fit easily into the 21.9 cubic-foot cargo area, too. Folded down, the rear seatbacks expand that total to 52.6 cubic feet. 

2025 Mercedes-Benz GLC 350e plug-in hybrid test drive review

2025 Mercedes-Benz GLC 350e plug-in hybrid test drive review

How much does the 2025 Mercedes-Benz GLC-Class cost?

With a price that falls between the Kia EV9 and a base Rivian R1S, the $61,050 GLC 350e plug-in hybrid came witha charging cable I wasn’t pressed to use, as well as its 11.9-inch touchscreen, wireless Apple CarPlay and Android Auto, and touch-sensitive steering wheel controls that I grew more accustomed to over time.

Mercedes sells another plug-in GLC—the 671-hp AMG GLC 63 S E Performance, which lays on the power to earn its initialism. Both join a lineup of PHEVs that also includes the plug-in hybrid edition of the larger GLE-Class that arrived for the 2024 model year.

In the future, it’s likely we’ll see the EQC electric SUV in the U.S. in 2025, after Mercedes pulled back from plans to bring it here in 2019. These stopgap models will help the automaker as it pivots and delays its EV sales targets, as the politics surrounding electrified vehicles shift with every passing minute. 

Most of us would rather own the all-electric models that may come to pass, but over this weekend of driving I was able to calculate exactly how the GLC plug-in might work. It’s the same line we harp on with every PHEV review: You must plug it in for it to make sense. 

This time it comes with the caveat: You must plug it in at home for it to make sense. 

What you plug into better have something more like the $0.17/kwh price most Atlantans pay for electricity. That calculates out to something more like $4.50 for a full, putative 62-mile charge. 

That scenario is entirely possible—if not likely—with a home charger that’s used religiously. Out here in the bougie burbs, plug-in drivers who don’t have their own garage setup will remain at the mercy of our strip-mall overlords—and, at times, by overpriced, undermaintained charging situations created by legal settlements. At those prices, the espresso should be free.



Source link

Renault Filante aims to be EV efficiency lab on wheels

0


  • The test car is named after three record-setting Renault prototypes from the last century
  • Renault claims the mostly carbon-fiber prototype weighs less than 2,204 pounds
  • Most of the weight is from an 87-kwh capacity battery pack

Renault on Thursday unveiled a concept car designed not just to look pretty on auto show stands, but to test new ways of improving electric-vehicle efficiency.

The Renault Filante Record 2025 is a single-seat EV that will be used in efficiency and range record attempts later this year, Renault said in a press release. First, it will be displayed at the Retromobile classic car show in Paris, which runs Feb. 5-9, alongside cars that inspired it.

Renault has a long history of record-setting prototypes. The Filante Record 2025 takes its name from three of them: the Ètoile Filante (French for “shooting star”) that set speed records at Utah’s Bonneville Salt Flats in the 1950s, and the 40 CV des Records and Nervasport des Records that set various speed and endurance records in the 1920s and 1930s, respectively.

Renault Filante Record 2025

Renault Filante Record 2025

The open-wheel bodywork, round headlights, and cab-rearward proportions are retro homages to those historic record cars, particularly the 40 CV des Records. That’s thematically consistent with Renault’s current road-car strategy which, as demonstrated with the Renault 5 E-Tech hatchback, doesn’t shy away from retro styling.

The design is still wind-tunnel proven, Renault claims. The elongated shape helps better control airflow around the body, and the wheels and suspension components have full fairings like those of a land-speed record streamliner. The driver sits in a reclined position similar to that of a Formula 1 race car, with the steering wheel attached to the cockpit canopy for easier ingress and egress.

Body panels are held together with visible screws, a choice inspired by aircraft construction that helps save weight, according to Renault. The panels themselves are carbon fiber, while the chassis is comprised of a combination of aluminum, carbon fiber, and steel. Topology optimization—the use of software models to determine the minimal amount of material needed in a given area—helped further reduce weight down to what Renault claims is less than 2,204 pounds.

Renault Filante Record 2025

Renault Filante Record 2025

The battery pack accounts for 1,322 pounds of that total. It has the same 87-kwh capacity as the pack in the Renault Scénic E-Tech crossover, but with cell-to-pack tech the automaker claims reduces weight and allows for more flexible packaging (the pack is placed forward in the chassis, under the driver’s feet). Similarly, steer-by-wire and brake-by-wire systems helped designers make the most of the limited space in the Filante Record 2025’s cockpit.

Renault didn’t provide much detail on the powertrain, but said the Filante Record 2025 will roll on specially-designed Michelin tires with a slim design to help reduce aerodynamic drag and rolling resistance.

As a one-off prototype designed to escape the weight-and-efficiency spiral of current EVs aiming for records, the Filante Record 2025 is similar in intent to the Mercedes-Benz Vision EQXX concept, which in 2022 managed 746 miles on a single charge on a road trip from Stuttgart, Germany, to the Silverstone racetrack in the U.K.—with enough charge leftover for a few victory laps. But where the EQXX at least vaguely resembled a road car, with four doors and a conventional interior, the Filante Record 2025 seems tailored for racetracks.



Source link